Our Family

History

J de Jonge makes history as a family company for more than 70 years as a next gen connector. Scroll down for a trip down memory lane.

JdJ-1.2.png

Beginning of our Journey

Jan de Jonge Sr. began his journey as one of Shell’s first electric welders, laying the foundation for our legacy.
JdJ-1.2.png

Fish Trade Relocation

The fish trade relocated from Vlaardingen to Scheveningen, marking a new chapter in maritime commerce.
JdJ-3.2.png

The Founding of
J de Jonge Piping & Construction

Marking a significant milestone with the establishment of J de Jonge piping & construction, paving the way for future success.
JdJ-3.2.png

First Piping Contract

Completed our first major EPC piping project at Matex Botlek (Liquin), setting a new standard in excellence.
JdJ-5.png

First Prefab Workshop

Opened our first prefab workshop in Vlaardingen Hall 2, advancing our production capabilities.
JdJ-5.png

First Hosetower

Delivered our first Hosetower, marking a major step in our engineering expertise.
JdJ-7.png

Opening Second Workshop

Opened our second workshop in Vlaardingen Hall 1, boosting our production capacity.
JdJ-7.png

First Tank Construction

Completed the construction of our first storage tanks, a key step in our growth journey.
JdJ-9.png

The Second Generation

Jan de Jonge Jr. joined the company, continuing the family legacy and driving future success.
JdJ-9.png

Opening Third Workshop

Opened our third workshop in Vlaardingen Hall 3, enhancing our capabilities and capacity.
JdJ-11.1.png

Start Loading Arm Service

Added JLS brand-independent loading arm service to our portfolio of J de Jonge.
JdJ-11.1.png

Ownership Transition

Transitioned ownership from Sr. to Jr., marking a new chapter in our journey.
JdJ-13.png

First Hosetower in Kingdom of SA

Delivered our first hosetower in Kingdom of Saudi Arabia, marking a significant international achievement.
JdJ-13.png

Start Engineering Company

Setting up JMEC Engineering Company, driving innovation and expertise forward.

Opening Belgium Office

Expanded our operations to Belgium, strengthening our international presence.

Opening Kingdom of SA Office

Expanded our presence to Kingdom of Saudi Arabia, marking a key step in our international journey.
JdJ-17.png

Establishing Heat Exchanger Service

Launched Heat Exchanger Service, paving the way for new opportunities and growth.
JdJ-17.png

Opening Two New Workshops

Opened two new workshops in Vlaardingen Halls 4 & 5.
JdJ-19.png

Expansion to Germany

We expanded into Germany with are own office in Cologne.
JdJ-19.png

Founding of JRS

Established JRS rotating Service to strengthen our global presence.
JdJ-21.png

Found TankTeam (now TankX)

Launched TankTeam (now TankX), opening doors to innovation and future growth.
JdJ-21.png
JdJ-22.png

Third Generation

Alexander de Jonge joined the company, bringing fresh energy and vision to our team.
JdJ-22.png

Opening Workshops Belgium

Opened two workshops in Belgium, boosting our regional operations and capabilities.
25.2.png

Founding of JLA

Setting up JLA loading technology, delivering and exporting equipment to markets worldwide.
25.2.png

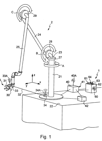
Swivel Joint Patent

Secured the swivel joint patent for marine loading arms and delivered one of the largest marine loading arm projects in the Kingdom of Saudi Arabia.
image001.png

Patent on Revolutionizing Technology

Secured a patent for autonomous connecting marine loading arms, revolutionizing maritime operations.
image001.png

New Leadership

Alexander de Jonge assumes the role of CEO, steering the company toward a dynamic future.
JdJ-30.1.png

Rebranding TankTeam to TankX

Setting up TankX and developed our unique and patented tank jacking system, setting new industry standards.
JdJ-30.1.png

World's First LNG Bunkerarm

Through hard work and innovation, we managed to produce and deliver the world's first LNG bunkerarm
JdJ-33.png

American Expansion & Founding JE&A

Expanded operations to the USA and setting up J de Jonge Electrical & Automation, increasing our global and technological capabilities.
JdJ-33.png

World's First Electric Loading Arm

We delivered the world’s first 100% electrified marine loading arm, setting a new benchmark in sustainable innovation and practices.
JdJ-36.png

Expanding Workshops & Service

Opened three workshops in Kingdom of Saudi Arabia, setting up Progesso Torque, tensioning and machining and acquired HLP Pump & Process Solutions
JdJ-36.png

New Headquarters

Relocated to a new zero-emission headquarters and production workshops, reinforcing our commitment to a greener future.

Kon. Wilhelminahaven Z.Z. 18


3134 KG Vlaardingen

The Netherlands